relistan
Member
Could the 30 degrees be a typing error?
I know some people love this film in sheet sizes as it's usually a lot cheaper than the main manufacturers films.
No not a typo, they post 20 degree and 30 degree times for all their films. 100 reaches box speed (or more) at 20 degrees, but 200 only does at 30 degrees except in Microphen, and 400 never does. According to their own spec sheets. They are good films, just not quite the ISO posted on the box.
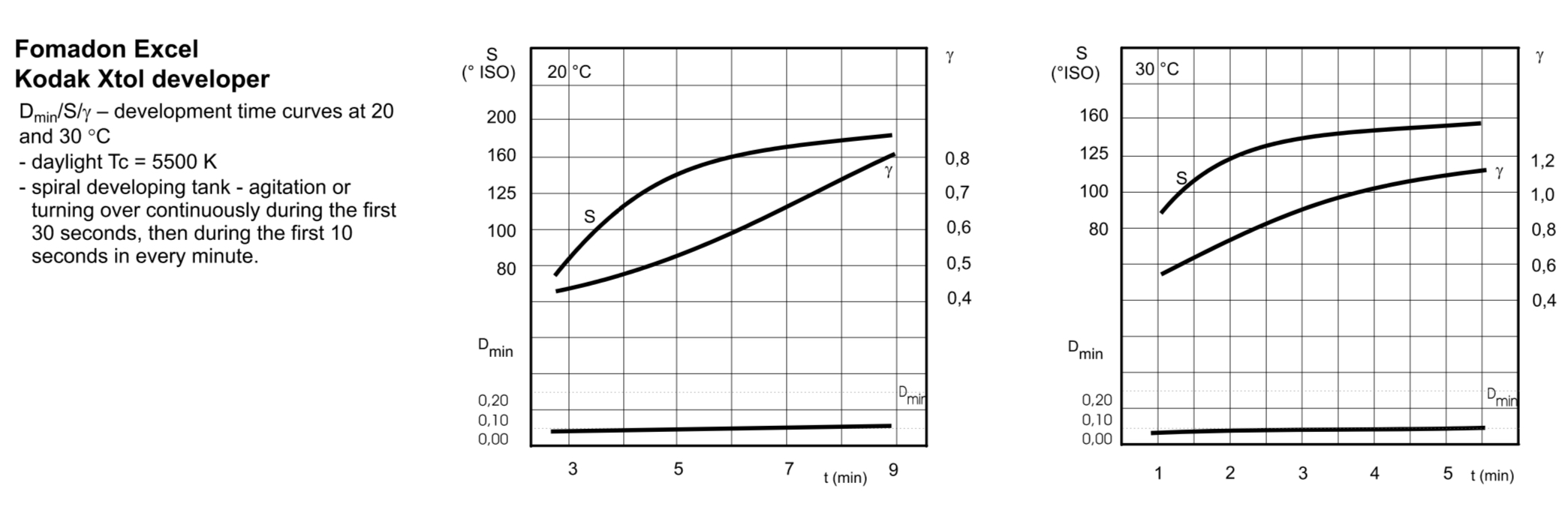
Here’s 200 in XTOL, from the spec sheet. ISO rating on the left, measured on top curve. Lower curve is density, numbered on the right. Base+fog on the bottom line.





