• Welcome to Photrio!
    Registration is fast and free. Join today to unlock search, see fewer ads, and access all forum features.
    Click here to sign up

Collection of spare parts for Nikon F3 and F3/T including a F3 Pin Registration (not for sale)

Krause 4

H
Krause 4

  • 3
  • 0
  • 19
Manners street Lads

A
Manners street Lads

  • 3
  • 0
  • 42

Recent Classifieds

Forum statistics

Threads
203,052
Messages
2,849,169
Members
101,624
Latest member
kevintosh
Recent bookmarks
0
Status
Not open for further replies.
@Andreas Thaler Thanks for coming back to me, I am interested in buying a DW-3 waist level viewfinder, non-HP diopter rubber eye piece ring and a replacement shutter release cable cover. Let me know if you have and are interested in selling any or all of those parts - thank-you again.

I don't have any of these for sale. I'm sorry.

But you'll probably find them on eBay.
 
Hello Andreas, I’m new to this forum and stumbled upon it by looking for f3 parts. My exposure compensation wheel doesn’t lock from 0 to -2 and saw on another post that you had the same problem. Do you happen to have another spare dial available? Any help would be greatly appreciated. Thank you.
 
Welcome to PHOTRIO!

On my Nikon F3P, parts of the override catch had broken off, probably due to force. The exposure correction function remained intact, however.

Have you taken a closer look at this on your F3?

IMG_2358.jpeg




The original spare parts that I have shown here are a collection, I don't use them myself. So I don't have any of these for sale. I'm sorry 🙂
 
Hello Andreas, I’m new to this forum and stumbled upon it by looking for f3 parts. My exposure compensation wheel doesn’t lock from 0 to -2 and saw on another post that you had the same problem. Do you happen to have another spare dial available? Any help would be greatly appreciated. Thank you.

Welcome to Photrio, @TheAntmanCometh
Please be advised that we keep ads (also requests to purchase something) limited to the Classifieds forum. Thank you.
 
  • Dan Ho
  • Deleted
  • Reason: WTB
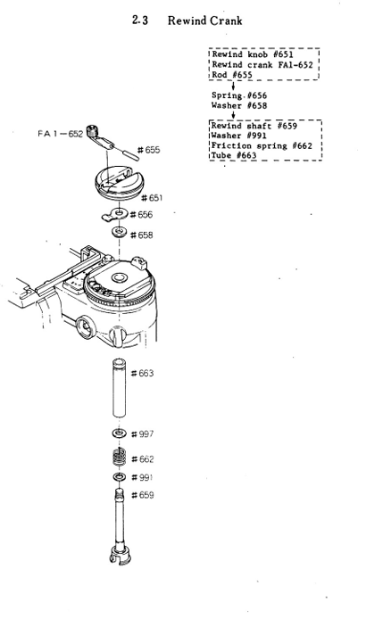
Andreas, wow, what a collection of stock you've got. That is fantastic. This weekend, I was out in the dark attempting to photograph rare fireflies when I accidentally unscrewed my rewind mechanism, at which point most of the parts sprang out and fell into the forest floor, where despite my efforts I could not find them. Reviewing this repair manual, I can see I need parts #652, 655, 656, and 997. Is there any chance you've got these on hand in a one of those F3s? If so, I'd be happy to pay you for them. Searching eBay I have only been able to find the parts 652/655/651 but not the rest.

Thanks!
Screenshot 2025-06-16 211150.png
 
Andreas, wow, what a collection of stock you've got. That is fantastic. This weekend, I was out in the dark attempting to photograph rare fireflies when I accidentally unscrewed my rewind mechanism, at which point most of the parts sprang out and fell into the forest floor, where despite my efforts I could not find them. Reviewing this repair manual, I can see I need parts #652, 655, 656, and 997. Is there any chance you've got these on hand in a one of those F3s? If so, I'd be happy to pay you for them. Searching eBay I have only been able to find the parts 652/655/651 but not the rest.

Thanks!
View attachment 400950

The F3 spare parts I've shown are part of a collection and not intended for sale 🙂

However, I do have some F3s that have been abandoned, and I'm looking for the parts mentioned.
 
  • MattKing
  • MattKing
  • Deleted
  • Reason: response to deleted post
Status
Not open for further replies.
Photrio.com contains affiliate links to products. We may receive a commission for purchases made through these links.
To read our full affiliate disclosure statement please click Here.

PHOTRIO PARTNERS EQUALLY FUNDING OUR COMMUNITY:



Ilford ADOX Freestyle Photographic Stearman Press Weldon Color Lab Blue Moon Camera & Machine
Top Bottom